Ikut Tren, Apple Kemungkinan Turut Kembangkan Headset Virtual Reality

applevr_3203733b

Saat ini beberapa perusahaan besar berlomba-lomba untuk mengembangkan teknologi virtual reality. Facebook memiliki Oculus Rift, sedangkan Samsung tak mau ketinggalan dengan Gear VR. Dan seolah tak mau kalah dengan para pesaingnya, Apple kemungkinan juga tengah mengembangkan headset VR miliknya sendiri.

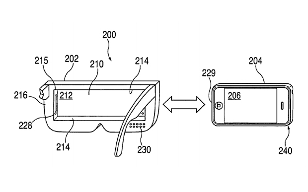
Kemungkinan tersebut terungkap dalam sebuah dokumen paten yang memperlihatkan bentuk headset VR milik Apple. Bahkan dokumen paten tersebut ternyata sudah didaftarkan oleh Apple sejak lama, pada awalnya diajukan pada tahun 2008. Dan headset VR milik Apple ini bakal mempunyai cara kerja seperti Gear VR dari Samsung.

url

Dengan cara kerja yang sama, maka headset VR Apple itu tak bisa dipakai secara independen. Untuk bisa bekerja, headset tersebut bakal dikombinasikan dengan iPhone. Selain itu, kemungkinan juga bakal ada kontroler eksternal untuk memudahkan navigasi tracking gerakan.

Namun tentu saja belum ada bukti konkrit mengenai keberadaan headset VR dari Apple. Terlebih dokumen ini hanya berupa dokumen paten. Jadi bisa saja Apple tak melanjutkan pengembangan headset tersebut.

sumber